Actualización (18/08/2021) – FM
Después de descubrir una patente para cámaras emergentes en julio firmada por Apple, la nueva información refuerza que los futuros teléfonos móviles de alta tecnología estarán equipados con lentes potentes, trayendo consigo Aumento significativo de la capacidad de hacer zoom. un acto iPhone 14 Pro Max, según Ming-Chi Kuo, un conocido analista en el campo.
La nueva tecnología debe garantizar que los futuros teléfonos inteligentes estén en línea iPhone 14 – Programado para su lanzamiento en 2022 – Ha sufrido cambios importantes en su diseño, con el objetivo de adaptarse a la nueva línea de lentes.
Junto con la nueva información de Kuo, se vieron más patentes corporativas en la Oficina de Patentes y Marcas Registradas de EE. UU., El organismo regulador de EE. UU. Que administra la propiedad intelectual. NS Obviamente la manzana Lanzó un plano familiar que detalla la construcción del módulo de cámara interno del iPhone 14 Pro Max.
Según el portal, la oficina publicó el pasado martes (17) al menos 53 documentos referentes al asunto. Vale la pena señalar que algunas patentes no solo cubren el iPhone, sino que también pueden describir la tecnología de zoom de periscopio destinada a los usuarios. vasos de manzanaLas gafas AR / VR también están previstas para 2022.
Actualmente en iPhone 12 Pro (reconsiderando) NS iPhone 12 Pro Max (reconsiderando), el zoom óptico se basa solo en teleobjetivos de hasta 2,5 aumentos. Con lentes ópticos, Apple puede alcanzar un nuevo nivel en fotografía. NS Galaxy S21 UltraPor ejemplo, utiliza binoculares que permiten un zoom óptico de hasta 10x.
Texto original (13/07/2021)
a Una manzana Se ha desarrollado un nuevo sistema de cámara periscópica para Iphone Durante años, con el objetivo de reducir el espacio físico que ocupan las lentes dentro y fuera de los dispositivos y mitigar el riesgo de daños accidentales sin dañarlas. actuación fotográfica.
Una nueva patente presentada ante la agencia reguladora de EE. UU. Indica que esta tecnología está cerca de su inicio. Según un documento de la Oficina de Patentes y Marcas de EE. UU., El gigante de Cupertino Desarrolló su propia solución de cámara de periscopioEste nuevo sistema debe revelarse en los próximos años.
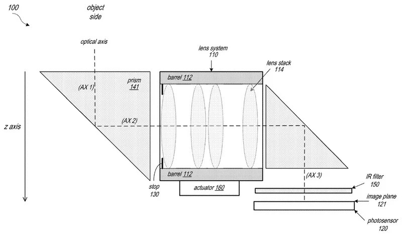
La patente se titula «Cámara plegable» y, según los dibujos, se ajusta a una unidad de periscopio, que incluye dos prismas y un juego de lentes independientes ubicados en el medio. Esta lente se puede mover libremente para combinar funciones como Estabilización óptica y enfoque automático.
La tecnología permitirá una extensión Aumento significativo de la capacidad de hacer zoom. de iPhones, actualmente limitado a hasta 2.5x, equipado con iPhone 12 Pro Max. Los sistemas periscópicos ofrecen actualmente lentes con zoom óptico de hasta 10x, como Huawei P40 Pro Plus es el Galaxy S21 Ultra.
Se espera que los dispositivos lleven esta tecnología en los próximos años. Ming-Chi Kuo, analista de fuentes confiables en Apple, señaló que los primeros iPhones con cámara de periscopio se anunciarán en 2022, pero Cambió su pronóstico para 2023. Sin embargo, otra información de los conocedores todavía apunta a su debut el próximo año.
Independientemente de la fecha de disponibilidad, la patente indica que la gran tecnología finalmente pudo desarrollar una solución que no infringe los derechos de propiedad intelectual de otras empresas, por lo que su producción se ha limitado a la tecnología existente. Con esto, se espera que iPhone 14 donde iPhone 15 Lentes retiradas de gran comodidad.
¡Ver más!

«Entusiasta de la cerveza. Adicto al alcohol sutilmente encantador. Wannabe aficionado a Internet. Típico amante de la cultura pop».
